聯系我們


- 銷售部㈠:021-62882166 63172288
- 銷售部㈡:021-62882177
- 圖文傳真:021-62882199
- 銷售總部:上海市普陀區陜西北路1789弄8號
- 郵政編碼:200060
- 技術咨詢:13818616363
- Q Q 客服:1972225598 978551002 1521316316
- 全國免費電話:
- 400-000-3927
103型耐腐蝕塑料泵
應用領域:
食品、制藥、日化、化工、建筑等。
獲取技術支持及詳細說明書:
Q Q:1972225598
MAIL:soqocn@sohu.com
電 話:021-62882166
全國免費電話:
400-000-3927
- 產品介紹
- 產品原理
- 產品特點
- 應用領域
- 技術參數
- 安裝尺寸
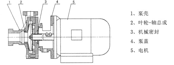
101型、102型、103型、104型、105型耐腐蝕泵塑料泵系單吸直聯式塑料離心泵是一種小型塑料泵,產品結構較先進、體積小、重量輕、耗電省、耐酸堿、密封好、維修方便。廣泛用于輸送酸、堿、鹽等腐蝕性液體上,化工、輕工、三廢治理等理想產。FP型增強聚丙烯離心泵、FS型工程塑料離心泵系列產品均采用機械密封,并引進國際先進工藝和技術配方,使用CFR-PP(增強聚丙烯)、改性ABS(工程塑料)作為泵的材質,在同系列的塑料泵產品中,充分顯示了其結構先進、重量輕、體積小、壽命長等特點,廣泛應用于化工、食品、制藥、造紙、環保、水處理等部門,輸送酸、堿、鹽等腐蝕性液體。其中104型采用220V電壓,可供家庭選用。
